NASKAH SOAL OSN FISIKA
TINGKAT KABUPATEN TAHUN 2013
(WAKTU : 3 JAM)
1. (Nilai 10) Sebuah benda bergerak pada bidang xy dengan komponen kecepatan dalam arah x dapat dinyatakan dalam bentuk vx (t) = (3t2 – 4t +5) m/detik, t dalam detik; sedangkan komponen kecepatan dalam arah y adalah vy(t) seperti ditunjukkan dalam grafik di bawah.
Tentukanlah:
a. Kecepatan benda 𝑣 ⃗ (𝑡) saat t = 2 detik dan t = 4 detik
b. Percepatan benda 𝑎 ⃗ (𝑡) saat t = 4 detik
c. Posisi benda 𝑟 ⃗ (𝑡) saat t = 9 detik, jika diketahui posisi awak benda adalah 𝑟 ⃗(0) = (74𝑖̂ + 40𝑗̂) m
a. Kecepatan benda 𝑣 ⃗ (𝑡) saat t = 2 detik dan t = 4 detik
b. Percepatan benda 𝑎 ⃗ (𝑡) saat t = 4 detik
c. Posisi benda 𝑟 ⃗ (𝑡) saat t = 9 detik, jika diketahui posisi awak benda adalah 𝑟 ⃗(0) = (74𝑖̂ + 40𝑗̂) m
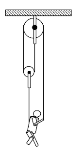
2. (Nilai 8) Seseorang (massa 60 kg) terikat dan terhubung ke sebuah sistem katrol sebagaimana tampak pada gambar samping. Katrol dan tali dianggap tak bermassa dan licin. Jika percepatan gravitasi dianggap 10 m/det2, tentukanlah gaya yang harus diberikan oleh orang tersebut ke tali agar ia bisa mempertahankan dirinya untuk tidak menyentuh lantai.
3. (Nilai 10) Sebuah balok (massa m) bergerak dengan kelajuan awal vo di atas lantai licin. Sebuah batang homogen bermassa M (M > m)dan panjangnya L tergantung dengan bebas pada langit-langit dan mulamula dalam keadaan diam (lihat gambar di bawah). Batang M ditumbuk oleh balok m tersebut.




ConversionConversion EmoticonEmoticon